1
/
of
1
toro mud buggy parts
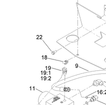
94-2413 - Reference Number 18 -- Nut
94-2413 - Reference Number 18 -- Nut
Regular price
$1.59 USD
Regular price
Sale price
$1.59 USD
Unit price
/
per
Shipping calculated at checkout.
Couldn't load pickup availability
Part Number 94-2413 - nut
Share
