1
/
of
1
toro mud buggy parts
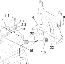
147-3226-03 - Reference Number 4 - Cross Bracket
147-3226-03 - Reference Number 4 - Cross Bracket
Regular price
$83.99 USD
Regular price
Sale price
$83.99 USD
Unit price
/
per
Shipping calculated at checkout.
Couldn't load pickup availability
Part Number 147-3226-03 - cross bracket
Share
