1
/
of
1
toro mud buggy parts
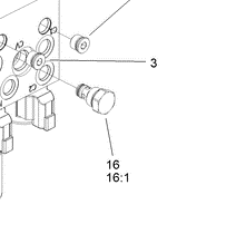
105-9321 - Reference Number 16 - Check Valve
105-9321 - Reference Number 16 - Check Valve
Regular price
$82.38 USD
Regular price
Sale price
$82.38 USD
Unit price
/
per
Shipping calculated at checkout.
Couldn't load pickup availability
Part Number 105-9321 - check valve, comes with 16:1
Share
